给水泵稀油站维护及保养知识
2022-06-22 最专业体育游戏娱乐平台设备
变频器运行频率和电位器的关系
2022-06-21 最专业体育游戏娱乐平台电气
燃料智能化系统网络安全防护及加固的应用实践分享
2022-06-21 最专业体育游戏娱乐平台自控
史上超全阀门动画工作原理分享
2022-06-21 最专业体育游戏娱乐平台阀门
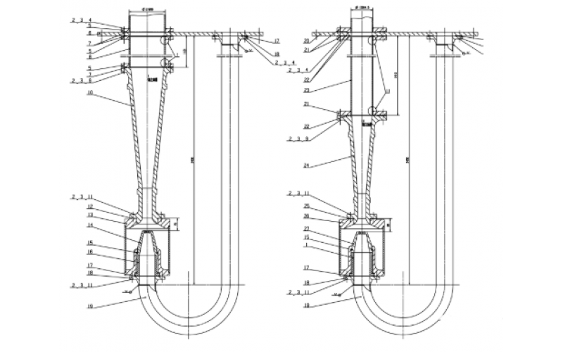
用于提升悬挂装置的新型钢丝绳锁绳器
2022-06-20 最专业体育游戏娱乐平台设备
注油器工作原理知识分享
渐开线齿轮的变位(齿廓偏移)知识分享
钢铁厂空压机冷却水投用步骤分享
2022-06-17 最专业体育游戏娱乐平台设备